Современные строительные требования и технологии требуют от рабочих не просто высоких навыков и квалификации, но и высокой скорости выполнения различных монтажных работ. Поэтому сегодня существует достаточно много разнообразных строительных деталей для быстрого и эффективного соединения монтажных элементов на основе пластин, кронштейнов, лент, балочных опор, изготовленных из листового металла, с предварительно сделанными технологическими отверстиями для их крепления – перфорации. Такие монтажные элементы данного типа называются перфорированным крепежом.
Перфорированный крепеж широко применяется при:
- производстве мебели;
- строительстве каркасных домов, крыш, обустройстве кровли;
- креплении фасадных строительных материалов и конструкций;
- проведении электромонтажа и прокладке вентиляционных систем;
- создании обрешетки, монтажных конструкций и во многих других строительных работах для соединения деталей из самого разного материала (дерева, гипсокартона, пластика и т.д.).
К наиболее востребованным элементам перфорированного крепежа часто относятся:
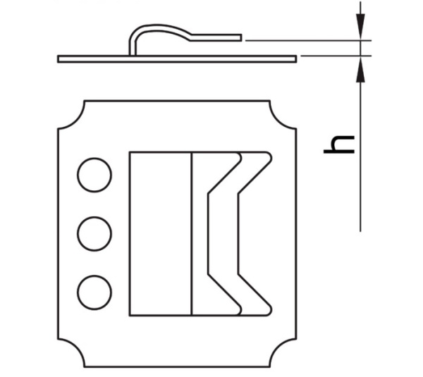
- электромонтажная перфолента;
- опоры и держатели для стропил, бруса;
- крепежи для монтажа металлического профиля;
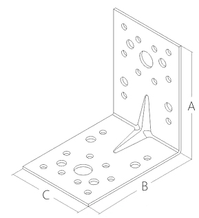
- монтажные перфорированные уголки, кляймеры, регулируемые анкеры;
- соединительные скобы и пластины, держатели, винтовые компенсаторы и многие другие подобные элементы.
Перфорированный крепеж изготавливается из качественной высокоуглеродистой стали с толщиной 2 – 2.5мм, покрытой цинком для защиты от влаги и ржавчины, для того чтобы обеспечивать высокий срок службы, соответствовать высоким современным строительным стандартам и выдерживать высокие нагрузки.
Перфорированный крепеж отличается по своим видам, размерам, диаметрам перфорационных отверстий, которые могут использоваться для монтажа анкерными болтами, гвоздями, шурупами и другими самыми разнообразными метизами.

















